根据 Tech4Gamer 发现,索尼申请了一项专利,在游戏中添加实时手语翻译工具以帮助残疾玩家体验游戏。

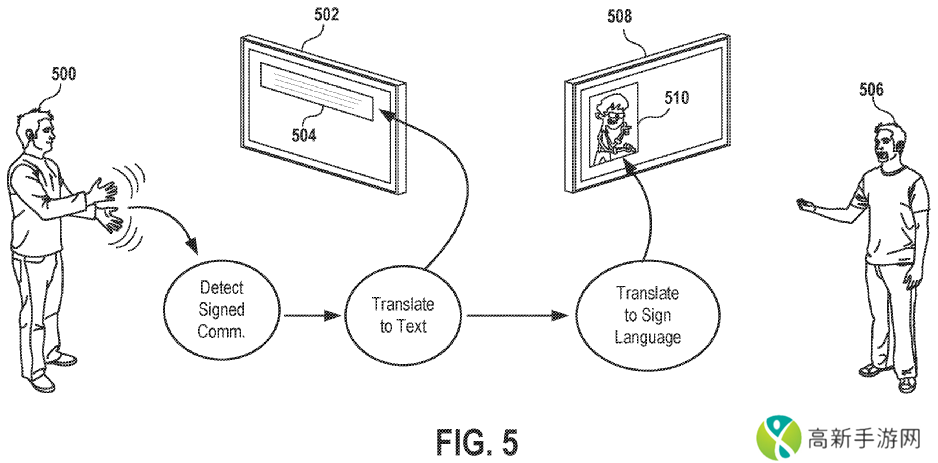
专利名为“虚拟环境中的手语翻译”,讨论了发送和接收两边的状态。首先一边会将手语翻译成文本,随后这些文本会再翻译成手语,并在接收方的屏幕上播放。不同语言之间手语也有差异,因此索尼称该系统在对话期间也包含了“非常重要”的实时翻译功能。

专利写道:“手语并不通用,这就需要适当地捕捉一个用户的手语、理解母语,并生成新的手语作为另一用户的母语的输出。”
索尼还表示系统能够区分简单的手势和手语,以确保用户的沉浸体验不会被打破。据公司称该系统可用于VR 游戏、传统游戏和其他各种非游戏应用。

显然这项功能非常有用,但是申请专利并不代表该技术已经实现,甚至在开发中。它大概率还需要很长时间才能出现在索尼的游戏当中。